产品展示
咨询热线
2025第二类医疗器械如何办理 二类医疗器械产品分类
可喜安深耕健康赛道21载的破局密码
阿里云申请一种数据校验方法、设备及存储介质专利可及时发现待测
市场监管总局:目前CCC目录内产品共计17大类106种
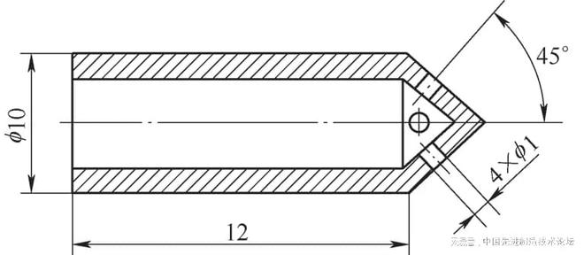
阀芯圆锥斜面微小孔钻削技术
采暖供热技术迎来革新山东云控专利稳流结构如何改变行业格局?
楼道消防系统改造后楼内“水漫金山” 电梯也被淹停运……
小米SU7的真实续航到底有多少?毕竟官标700公里只是文字游
轻松悦学科技有限公司丨轻松学堂:视频剪辑技能进阶之路